91香蕉视频污在线I97超在线I久久国内精品视频I成人教育avI久久久久久片I怡红院avI91视频在线观看免费I精久久久久

武漢凱迪正大

全國免費服務熱線

400-027-3099
凱旋思想,啟迪新人生!

TRIUMPH THOUGHT,INSPIRE NEW LIFE!

當前位置當前位置:首頁 > 新聞中心 > 技術資料

200KVA/30KV 工頻交流耐壓試驗系統

作者:凱迪正大電氣來源:武漢凱迪正大電氣有限公司日期:2018-03-12 15:42:00閱讀:

 
概述:工頻交流耐壓試驗系統是最基本的試驗設備。用于對各種電器產品、電氣元件、絕緣材料等進行規定電壓下的絕緣強度試驗,以考核產品的絕緣水平,發現被試品的絕緣缺陷,衡量過電壓的能力。它由高壓試驗變壓器、電動控制臺、柱式調壓器等組成。下面就各個部分的使用加以說明。
 
一、試驗變壓器:
1、結構:交流試驗變壓器鐵芯采用優質冷軋取向硅鋼片疊制而成。線圈為同心寶塔形多層圓筒式。低壓線圈在內,高壓線圈在外,箱體為八角形,裝有移動鐵輪。具有外形美觀、移動方便等優點。
產品型號:
 
2、工作原理
交流試驗變壓器:將工頻兩相380V電源接入TCWJH電動控制臺,經調壓器調節0~400V電壓輸入至試驗變壓器初級繞組,根據電磁感應原理,在次級繞組可得到可調的工頻電壓。
 
二、技術參數:
容量:200KVA
輸入電壓:400V
輸入電流:500A
輸出電壓:30KV
輸出電流:6.66A
儀表電壓:100V
變比:300
三、控制臺:
這部分是高壓試驗變壓器的配套設備。具有調壓,過流保護,耐壓計時,高壓電壓、高壓電流指示,計時時間到自動降壓,過流自動降壓等功能。
 
四、操作方法:
a) 按上圖所示將電源(兩相380V及零線)、TCWJH控制臺、調壓器、試驗變壓器、被試品及地線連接好,在聯結調壓器至TCWJH之間的航插時,特別注航插凸出槽和凹下槽對準,插進去再擰緊,千萬不要不論位置強行插,這樣很容易損壞航插。檢查無誤后再合上電源開關。合上電源開關后,電源指示綠燈(—HG)、零位指示黃燈(—HY)亮;如果零位指示燈不亮,則說明調壓器不在零位,此時可按“點動降壓”按鈕使調壓器降壓直至零位指示燈亮為止。
 
b)按照被試品正常試驗所需電流大小和耐壓時間選定“電流倍率/切除”(—SA)開關的位置并設定好過流繼電器(-KA)、時間繼電器(-KT)的動作值。
過流繼電器可按如下設定:過流動作設定值=過流繼電器刻度盤讀數x50K,其中K為電流選擇開關的狀態值,分別為1,2及無窮大(OFF位置),用來變換過流繼電器線圈的串并聯及過流繼電器的切除,無窮大不用,因為這樣會切除過流繼電器。
c)以上大多數工作就緒后,可合上操作臺側面的電源開關送電操作。按下“啟動”按鈕,送電指示燈亮,一次主回路接觸器吸合,調壓器受電。
d)按下“點動升壓”按鈕不放,調壓器升壓,同時,密切注視電壓表的指示,當升到接近被試品規定的耐壓值時,及時松開“點動升壓”按鈕,按下“計時”按鈕并留意被試品的情況。
e)當耐壓計時到時,操作臺發出報警,調壓器自動回零位,按下“停止”按鈕和“計時”按鈕,此時時間繼電器及主回路斷電,試驗即告完成,可切斷電源開關。
f)在升壓或耐壓過程中,如發生短路、閃絡擊穿等過流時,過流繼電器(-KA)動作,切斷主回路,調壓器自動回零,表示被試品不合格。需要指出的是在耐壓過程中出現過流的情況,調壓器自動回零的同時應及時按下“計時”按鈕切除過流繼電器。
h)在升壓或耐壓過程中。如發生調壓失控,應立即按下“總停”按鈕停止升降壓。
 
五、使用條件:
a)環境溫度:0~40℃
b)海拔高度:<1000m
c)相對濕度:<85%
d)工作場所無嚴重影響絕緣的氣體、蒸汽、化學性塵埃、及其它爆炸性和浸蝕性介質。
六、注意事項:
a)開箱時應檢查電器元件及接點是否運輸損壞或接觸不良。
b)嚴格按照操作規程操作。
 
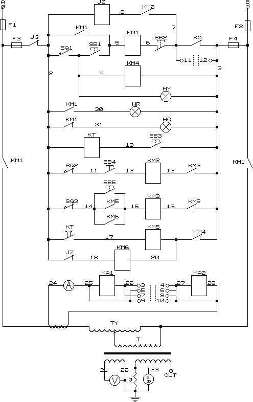
七、電氣原理圖:

上一篇:高頻直流高壓發生器功能特征

下一篇:0.1HZ超低頻高壓發生器工作原理

武漢凱迪正大公司